The invention concerns predictively presenting, in the graphical user interface (GUI) of a computing device, specific “search capabilities” depending on the current location. While considered by the Examining Division as non-technical due to allegedly representing information based on administrative and personal constraints, the Board found that the application indeed provides a technical effect. Therefore, the decision was set aside and the case was remitted to the Examining Division for further prosecution. Here are the practical takeaways of the decision T 1384/21 (Predictive search/GOOGLE LLC) of March 20, 2024 of the Technical Board of Appeal 3.5.07:
Key takeaways
The invention
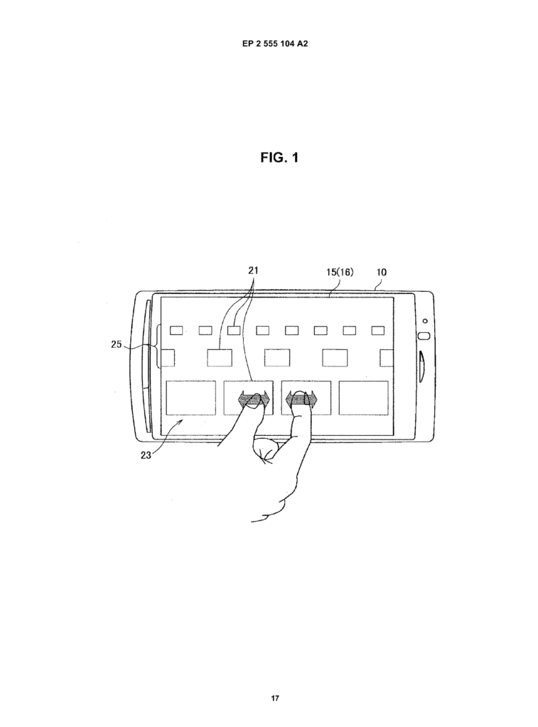
Different “whitelisted locations” may offer different search capabilities for users to obtain information. For example, in a museum the user may use the smartphone camera to recognise artwork, whereas in a shop the user may scan a barcode for “comparison shopping” (see paragraphs [0013], [0014], [0016] and [0030] of the published application). A search capability, also named “search type” in the application, may be a “visual search type” that uses optical sensor(s) to obtain image(s). For example, visual search types may be based on barcode scanning, image recognition or optical character recognition. Other search types may include audio and textual search types (paragraph [0031]). After determining that the current location matches a whitelisted location in a stored list of whitelisted locations, the computing device obtains the search types which are associated with the matched whitelisted location. The computing device then provides, in the GUI, a selectable GUI element, referred to as “indication”, for each of the obtained search types. When the user selects one of these indications, a search is performed based on the selected search type (paragraphs [0033],[0034] and [0041]).

Fig. 1 of WO 2014/089319 A1
Here is how the invention is defined in claim 1 of the main request:
-
Claim 1 (Main Request)
Is it technical?
Both the Board in charge and the Appellant agreed that the closest prior art document D4 fails to disclose the following feature groups:
storing a plurality of whitelisted locations, associating one or more search types with each whitelisted location and determining that the geographic location of the mobile computing device matches one of the whitelisted locations;
obtaining the search types associated with the matched whitelisted location and responsive to obtaining the one or more search types, outputting a GUI comprising an indication for each of the search types associated with the matched whitelisted location.
As outlined above, the Examining Division found that these features concerned administrative and personal constraints and resulted in a different search method being performed based on the location. This was not a technical effect because it related merely to presentation of information.
The Appellant on the other hand argued that these features provided a UI which facilitated user selection of a search type (e.g., a camera for recognizing artwork in a museum or a barcode for comparison shopping in a store).
The Board did not follow the arguments of the Examining division and stated:
The “indication” for a search type is an interactive element of the GUI which offers a specific search function and is a technical feature (see also T 2028/11, Reasons 3.6). The board does not agree with the assessment of the decision under appeal that the distinguishing features […] relate only to presentation of information as such and that “[i]t is irrelevant from a technical standpoint which searches or search types are offered by a technical system, only the personal requirements of a user dictate such choices”.
Instead, the Board found that:
It is technically relevant that specific interactive elements are displayed, since the functionality of the system is determined by the interactive GUI elements displayed.
Furthermore, the Board argued that:
The distinguishing features […] are not determined by the subjective wishes of the user but result in the GUI being automatically adapted to the location of the mobile device in that the GUI provides the search functionality which is applicable to the location. This is a technical difference. The board agrees with the appellant that these distinguishing features facilitate the selection of a visual search type associated with the location of the mobile phone.
Since none of the other prior art documents either disclosed or suggested the claimed solution, the Board found the subject-matter of claim 1 of the main request to be inventive over the cited prior art.
More information
You can read the whole decision here: T 1384/21 (Predictive search/GOOGLE LLC) of March 20, 2024.

Max is a computer scientist and patent attorney trainee at BARDEHLE PAGENBERG. Due to his technical background, he specializes in prosecuting and litigating software patents, in particular algorithm based inventions.








