The European Patent Office considered a central database for recording a status and an archive store for recording the status technical. Here are the practical takeaways from the decision T 1242/04 (Provision of product-specific data/MAN) of 20.10.2006 of Technical Board of Appeal 3.5.01:
Key takeaways
The invention
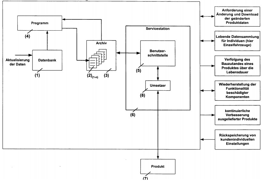
The application underlying the present decision relates to a method and system for providing product-specific data in a service station for detecting and possibly modifying construction and functional conditions of products supplied by a manufacturer. The object of the invention is to provide a process through which the functionality and quality of delivered products can be guaranteed throughout their entire life (cf. EP 1 320 055 A1, paras. [0002] and [0003]). The invention uses a central database to store equipment data for different products, with the equipment data being constantly updated by the manufacturer (cf. EP 1 320 055 A1, paras. [0018]).

Fig. 1 of EP 1 320 055 A1.
-
Claim 10 (main request)
Is it patentable?
The first instance examining division refused searching the claimed subject-matter because it allegedly lacks technical character:
II. (…) The claims relate to subject-matter which is excluded from patentability under Article 52(2) and (3) EPC. Given that they refer either only to such non-technical matter or to commonly known features for their technological implementation, the search examiner has been unable to identify any technical problem whose solution might possibly involve an inventive step. Hence it has not been possible to carry out a meaningful search into the state of the art (…).
Hence, applicant filed an appeal and was able to convince the Board in charge that the claimed subject-matter provides technical character:
3.1 The objection of lack of technical character in the subject-matter of the two independent claims 1 and 10 does not bear scrutiny in the light of the case law of the boards of appeal in T 931/95 (OJ EPO 2001, 441) and T 258/03 (OJ EPO 2004, 575).
3.2 Apart from the fact that, in keeping with T 931/95, even the apparatus category of claim 10 implies the presence of physical features and hence a technical character, both of the independent claims feature at least a central database for recording the required status and an archive store for recording the actual status which communicate with each other by computing means, which implies the use of a computer. Thus independent method claim 1 also uses technical means and in keeping with T 258/03 involves more than a purely abstract concept. Thus independent claims 1 and 10 both have a technical character and constitute inventions within the meaning of Article 52(1) EPC.
With respect to the assessment of inventive step, applicant defined the objective technical problem to be solved as follows:
4.1 The appellant has argued that the object of the invention is to guarantee the product’s functionality and quality throughout its lifetime, and that this constitutes a technical contribution.
However, the Board in charge disagreed:
4.1 (…) In the Board’s view, however, this object is not achieved by the subject-matter of claim 10. Higher functionality and quality throughout the product’s lifetime are not the consequence of the method or system of the invention; they are the consequence of using the best possible components. The stored data itself has no direct technical effect on product quality, this in fact being provided by the improved components themselves, to which the equipment data in the central database merely refers. Hence the guarantee of maintenance quality is also dependent upon the service personnel and is not automatic, which means that errors in maintenance continue to be possible.
4.2 Even if the object is simply held to be the provision of product-specific data so that the product’s required status can be compared with its actual status (see also col. 6, l. 26-28 of the A1 document: “This results in the automatic supply of updated product-specific data to the service station”), it is still essentially administrative in nature. What is definitely technical, though, is the realisation or implementation of this concept by technical means; and that must be held to constitute the technical problem in this case.
Therefore, the Board in charge applied the well-known COMVIK approach for assessing inventive step by only considering the technical features:
4.3 In assessing inventive step, only the features which contribute to the solution of the technical problem need to be taken into account (see T 641/00, OJ EPO 2003, 352). In independent claim 10 these are:
– a central database for storing and providing data
– an archive store for archiving data files retrievable via their assigned identification codes which comprise changes to the specific product in sequential data file versions
– user interfaces assigned to service stations and connectable to the archive store by telecommunication for the retrieval of data files, and
– a computer-assisted program which communicates with the central database and the archive store in order to generate new and/or updated data files and store them in the archive store.
However, the Board considered these features to be general knowledge and are thus known in the art:
4.4 In the Board’s view, communication between the central database and the archive store is simply a form of client-server architecture, which was indisputably already part of the common general knowledge before the date of priority of the present application. The sequential data files in the archive store constitute an obvious implementation of a conventional maintenance manual in the form of an electronic database.
Hence, the Board considered the claimed subject-matter as being obvious to the skilled person.
More information
You can read the whole decision here: T 1242/04 (Provision of product-specific data/MAN) of 20.10.2006.
