This decision concerns an enhanced scroll bar. However, the Board did not grant a patent, because the distinguishing features were either considered a mere display of information or an obvious technical implementation.
Here are the practical takeaways from the decision T 2760/18 (Enhanced scrollbar/BLACKBERRY) of January 26, 2023, of the Technical Board of Appeal 3.5.01.
Key takeaways
The invention
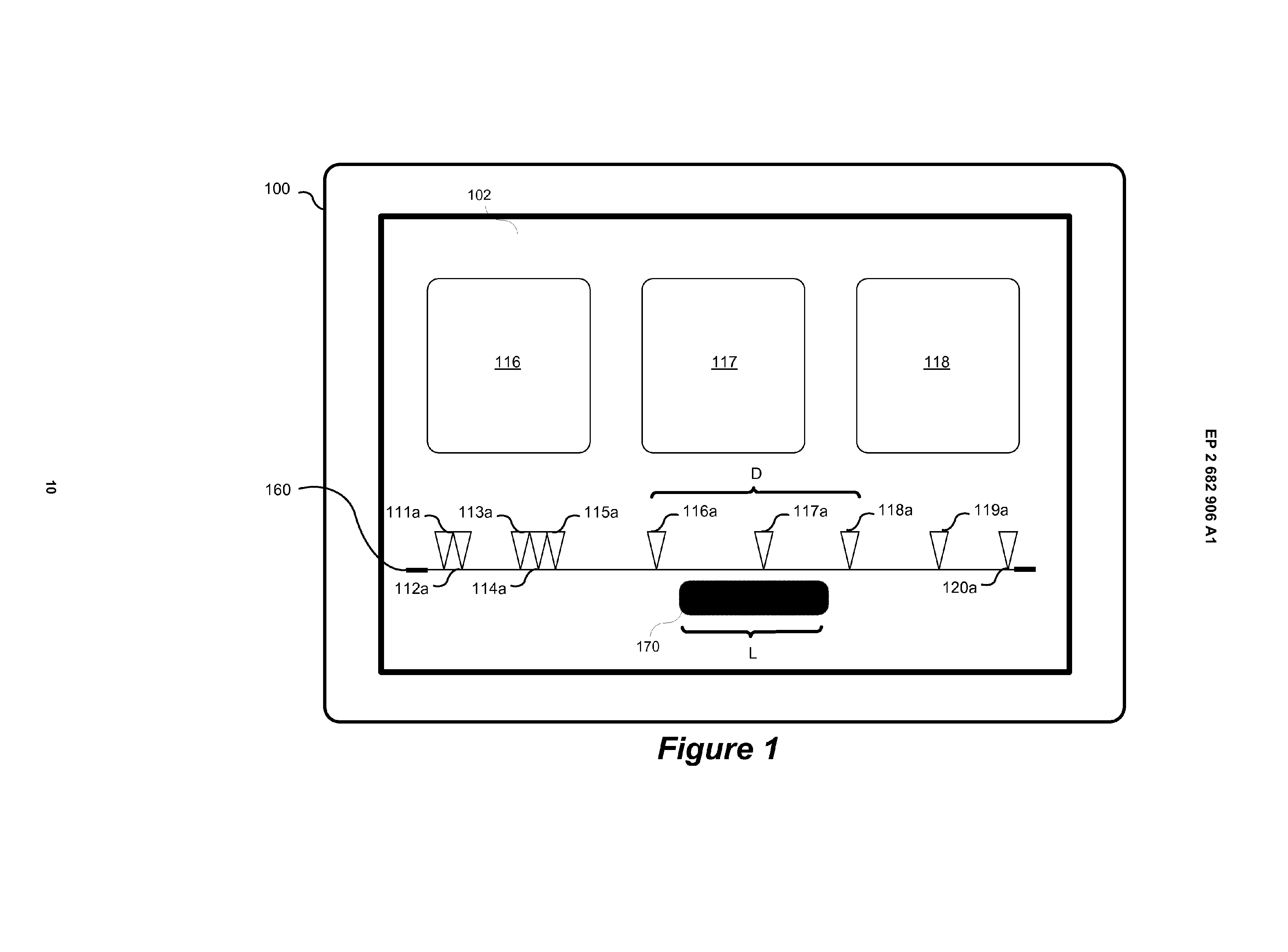
The invention relates to an enhanced scrollbar. A graphical user interface (GUI) 102 is provided for navigating through a sorted list of content items 111-120. For example, a list of images sorted by time (cf. para. [0001], [0002] of the application as filed). The sorted list of content items is displayed by a navigation list 160 which allows navigation through the items using a movable navigation element 170. According to the invention, the size (L) of the GUI element 170 varies depending on a distance (D) between a subset of items (e.g., 116-118) which is to be displayed in the GUI 120. As a result, the GUI element 170 does not only provide the functionality of scrolling through the items, but also gives a sense of scale of the time spanned by the displayed content items relative to the total time spent by all items (cf. para. [0013] of the application as filed).

Fig. 1 of EP 2 937 829 A1
-
Claim 1 of the 6th Auxiliary Request
Is it patentable?
Both the Board in charge and the Appellant agreed on D2 representing the closest prior art. D2 concerns a GUI for navigating through a large list of sorted items using a scrollbar. In the GUI of D2, the scrollbar can be placed next to a scrolling window displaying a subset of items from a filtered list. An alphabetically ordered list of words from a dictionary comprising a certain pattern. These correspond to the “plurality of content items”. Ordering the items chronologically suggests that the associated “common property” can be time. The positions of the items in the filtered list are highlighted in the background of the scrollbar to show the locations of entries that match the pattern. The user can navigate through the filtered list by moving the scrollbar’s knob, corresponding to the “navigation element”, along the background, corresponding to the “navigation list”, or by clicking the mouse on the scroll window and dragging it vertically. The items shown in the scrollable area correspond to the position of the knob.
Accordingly, claim 1 of auxiliary request 6 differs from the closest prior art by the following aspects:
- The width of the navigation element varies and is defined by the distance between the properties of the first and last item in the displayed subset of item.
- The method runs on a portable electronic device with a touch-sensitive display (preamble).
The appellant argued as follows:
The ”associated common properties” of the content items in the invention were absolute properties inherent to the content items, whereas the width of the navigation element varies and is defined by the distance between the properties of the first and last item in the displayed subset of items.
The Board was not convinced by this argument:
The common property is limited to time, which is known from D2. Moreover, time alone does not necessarily imply absolute or unevenly distributed property values. It may, for instance, designate the relative times of images taken at regular time intervals.
In addition, the Board stated that distinguishing feature (1) merely relates to presentation of information and thus could not contribute a technical effect:
The feature merely informs the user about a property of the currently displayed items (i.e. their span). Features directed to the presentation of information may contribute to the technical character of the invention if they credibly assist the user in performing a technical task (T 336/14 – Presentation of operating instructions/ GAMBRO, headnote; T 1802/13 – Brain stimulation/ CLEVELAND, point 2.1.5). … however, the claimed GUI does not prompt or otherwise incite the user to use the displayed information in a particular way. Instead, it is entirely up to the user to make sense of the displayed information and to decide what to do with it.
In response, the appellant argued that:
Changing the width of the navigation element provided a better sense of the range spanned by the displayed items. This improved the user’s navigation through the content items, i.e. assisted the user to find an item of interest while reducing the number of necessary user interactions. This, in turn, reduced the usage of the device’s computing resources and extended its battery life.
The Board agreed with the Appellant that an improved navigation and reduced usage of computing resources are technical effects. However, the Board was not convinced that these effects are credibly achieved:
The width of the navigation element might indeed give the user a better sense of the range spanned by the displayed items. But this range provides no information about the property values of the individual items (whether displayed or not). Hence, when the user looks for an item with a particular property value, the width provides no guidance about the position of this item within the list of content items.
The Appellant tried to convince the Board of said technical effect by arguing that:
The invention improved navigation of items with unevenly distributed properties, such as chronologically sorted items separated by irregular time intervals. The width of the navigation element reflected the density of the displayed items. A larger width indicated that the displayed items were sparsely distributed and that the user could quickly navigate through the items by dragging the navigation element along the navigation list. A smaller width indicated that the displayed items were densely distributed and that there was a higher risk of overlooking an item due to a high scrolling speed. A smaller width thus suggested to the user to change to the slower navigation mode of swiping through the displayed items.
However, the Board did not follow this argumentation. While the Board agreed that the user could navigate through the list in the described manner, the alleged technical effect of “changing from quick to slow navigation mode based on the width of the navigation element” is neither derivable from the application nor would it be self-evident for a user to actually use the interface in this manner.
As the second distinguishing feature merely defines an obvious choice of an alternative computing environment, the idea of implementing a GUI with a scrollbar on a portable device with a touchscreen is not based on any technical considerations, but merely follows the general trend in technology at the priority date of the application (2012). Additionally, the Board did not see any obstacles for the skilled person for the implementation of the GUI of D2 on a portable device with a touch screen, because this would merely require an adaption of the mouse operations to their touch screen equivalents.
Therefore, the Board decided that the subject-matter of the claim 1 was not inventive and the appeal was dismissed.
More information
You can read the full decision here: T 2760/18 (Enhanced scrollbar/BLACKBERRY) of January 26, 2023, of the Technical Board of Appeal 3.5.01.
