In this decision, relating to an application concerning microphones typically used at conferences, the European Patent Office refused to grant a patent relating to informing conference participants about the conference proceedings by means of different colours of a ring-shaped indicator attached to a speaker’s microphone. Here are the practical takeaways of the decision T 1895/17 (Ring-shaped microphone indicator/Bosch) of December 8, 2020 of Technical Board of Appeal 3.5.03:
Key takeaways
The invention
The Board in charge summarized the invention of the application underlying the present decision as follows:
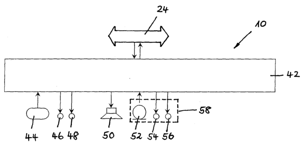
The application concerns a conference system with a delegate unit having a microphone. The microphone (58) has a ring-shaped indicator (96) mounted between its stem (94) and its windshield (98).
The indicator can radiate in at least two colours, either steadily or by means of flashing. By doing so, various states of the delegate unit can be indicated, including a “microphone-on” state indicating who is currently speaking, a “request-to-speak” state indicating who has requested to speak, a “next-speaker” state indicating who will be the next speaker and a “last-minute” state indicating that the current speaker has used up almost all of their speaker time.
As a result, the audience attending a conference via the conference system can be provided with additional information about the way in which the conference proceeds.

Fig. 2 of EP 1 686 835 A1
Here is how the invention is defined in claim 7:
-
Claim 7 (main request - numbering added by the Board)
Is it technical?
During the appeal proceedings, as a first step, the Board in charge determined the distinguishing features of claim 7 over the closest prior art document D5 as follows:
4.3 As to features (c) and (d), document D5 does not disclose that the claimed ring-shaped indicator also radiates light in a second colour, differing from the first colour and indicating the second state of the delegate unit, i.e. it does not disclose features (c) and (d).
As a next step, the Board determined the effect of the distinguishing features, specifically with respect to the claimed first and second state:
4.4.1 It is apparent that these features do not provide details concerning the first and second state, in particular concerning what these states actually represent. However, from the dependent claims the skilled reader would immediately understand that the second state of the delegate unit is meant to reflect a request of a user, see e.g. claim 4 (or, similarly, claim 12) of the main request stating that the ring-shaped indicator radiating steadily in the second colour indicates a “request-to-speak-state” and claim 13 of the main request specifying that the ring-shaped indicator flashing in the second colour means that the “request to speak” is the first one on a list of “requests to speak”. Neither the claims nor the description comprise an example of the second state that represents a functional state of the delegate unit.
Based on this assessment, the Board in charge concludes that the two states do not provide any technical information. More specifically, the information provided by the colours of the ring-shaped indicator would not be directed at the improvement of a technical device and would require a cognitive interpretation of a human person to be understood:
4.4.2 As a result, the second state referred to in features (c) and (d) is rather related to cognitive information addressed to a person’s mental process rather than to “technical information” within the meaning of T 336/14 (see Reasons 1.2.5), i.e. it requires a cognitive interpretation by this person to discern the meaning of the “second colour”. In other words, this information is not directed to an improved operation of a technical device such as the microphone or delegate unit by the person.
More precisely, the Board argued that the ring-shaped indicator only refers to how cognitive information is presented to a user. Then, the Board outlined that how cognitive content is provided to a user/person does not contribute to the solution of a technical problem:
4.4.3 Moreover, the mirroring of a second state of the delegate unit by the ring-shaped indicator of the claimed microphone by means of a second colour as apparent from feature (c) is merely related to how cognitive information is presented to a user (see e.g. T 1143/06 and T 1802/13). In line with T 1143/06 (cf. Reasons 5.4), a feature which relates to the manner how cognitive content is conveyed to the user normally does not contribute to a technical solution to a technical problem and the board cannot recognise why the present application would constitute an exception in this respect.
Against this background and in view of the closest prior art D5, the Board in charge formulated the problem solved by the distinguishing features as follows:
4.4.5 The only technical aspect of features (c) and (d) resides in the fact that the same ring-shaped indicator of the microphone is used to mirror the delegate unit’s first and second state. It provides for a practical implementation of the non-technical aim mentioned above. In accordance with the well-established “COMVIK approach” (T 641/00, headnote 2), this non-technical aim may legitimately be incorporated into the objective technical problem as a constraint to be met.
4.5 Hence, the underlying objective technical problem may be framed as “how to provide for a practical implementation ensuring that also the conference participants (and not only the speakers) can be informed about the states of D5’s delegate unit“.
However, confronted with this problem in view of D5, the skilled person would arrive at the claimed subject-matter without being inventive:
4.6 When confronted with the above objective technical problem, it would have been obvious for the person skilled in the field of conference systems (such as the “CDS 4000” system of D5), based on their common general knowledge, to augment the functionality of the microphone’s ring-shaped indicator of D5 to not only mirror the delegate unit’s red-light indicator, as is typically the case for conventional conference systems, but to mirror also its green-light indicator.
As a result, the appeal was dismissed due to lack of inventive step.
More information
You can read the whole decision here: T 1895/17 (Ring-shaped microphone indicator/Bosch) of December 8, 2020
