The invention relates to rendering online ads on a webpage. The Examining Division refused the application alleging it related to purely business-orientated data transfer and generic presentation of business information. The Board disagreed. While advertisements as such are considered non-technical, the invention relates to an advertisement on a webpage realized as webpage programming code, digital pictures, film clips, or computer animation. These technical implementations of ads are considered technical, even if the purpose (advertisement) is non-technical.
The Board decided that since the features provided an animated, secured, and interactive cross-domain data exchange between two cross-domain frames in order to improve flexibility and security of communication of embedded content in websites, it was technical and considered inventive over the prior art.
Here are the practical takeaways from the decision T 2177/19 of June 1, 2023, of the Technical Board of Appeal 3.4.03.
Key takeaways
The invention
The invention was summarised by the Board as follows:
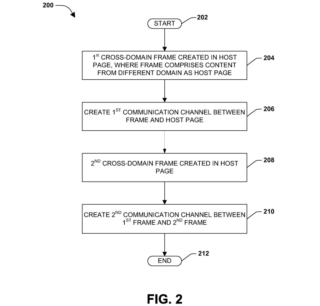
1.1 The aim of the invention is to propose a system for securely serving online ads on a host webpage, while allowing for rich media functionality of the online ads (“interactive animations”), but not allowing undesirable attacks by malicious third parties (paragraph [0009] of the description of the application). Furthermore, the proposed systems provides a better ad provider experience when webpage hosts update their content, as the ad content can be integrated relatively seamlessly with the webpage content as intended, for example, inside a secure box that is separated from the host page content.
1.2 For rendering online ads on a webpage, a first inter-frame communication channel (“first iFrame channel”) is created (paragraph [0010]). The first inter-frame communication channel comprises a first communication channel between a first cross-domain frame (e.g. for securely hosting ad content) and a host page. The first cross-domain frame comprises content (e.g. ad content from an ad syndicator) from a domain that is different from that of the host page. Furthermore, a second inter-frame communication channel (“second iFrame channel”) is created, which comprises a second communication channel between the first cross-domain frame and a second cross-domain frame (e.g. for hosting additional ad content from the same or a different ad owner or syndicator) in the host page.
1.3 Communication takes place between the two cross-domain frames such that interaction between two ads can take place as an animation. Content form the first cross-domain frame is passed to the second cross-domain frame, such that content of the two cross-domain frames is the same, i.e. the second cross-domain frame comprises content from the first cross-domain frame (and vice versa, cf. paragraph [0037]).

-
Claim 1 of the Main Request- labeling (A to F') added by the Board
Is it patentable?
In the decision under appeal, the examining division held that the subject-matter of claim 1 lacked inventive step. In particular, the Examining Division argued that the difference related to purely business-orientated data transfer and to a generic expression of presentation of business information.
The Board disagreed with the generalized reasoning of the Examining Division and noted as follows:
2.2 Technicality
2.2.1 Advertisements as such are considered non-technical. However, in the present context the advertisement is an ad on a webpage in the form of a digital web content (“html script”, see paragraph [0022] of the description of the application). Ads according to the general understanding of the skilled person in the context of webpages are concepts which are e.g. realised as webpage programming code, digital pictures, film clips or computer animation. These technical implementations of ads are considered technical. Features (E) and (F) relate to communicating requests and creating an interactive ad in the form of a (computer) animation (such as an ad that drops a burger bun top from the first frame onto a burger in the second frame, then drops the burger and bun top from the second frame to a bottom bun in a third frame, cf. description, paragraph [0038]). Therefore, these features also have to be considered entirely technical even if the purpose (advertisement) is non-technical.
2.2.2 Consequently, the Board is of the opinion that all the features of claim 1 are technical.
Next, the Board identified document D3 as the closest prior art and agreed with the applicant that it fails to disclose features (C) to (F), and the technical effect was discussed:
2.7 Effect – problem
2.7.1 The differences have the effect of
(i) (features (C) and D)): secured and interactive cross domain data exchange between two cross-domain frames;
(ii) (features (E) and (F)): allowing an interactive animation of the online ad within several ad-spaces in the host webpage, but not allowing undesirable attacks by malicious third parties.
2.7.2 The appellant formulated the technical problem to be solved as “how to securely serve an online ad on a host webpage, while allowing for an interactive animation of the online ad within several ad-spaces in the host webpage, but not allowing undesirable attacks by malicious third parties” (see the letter of 22 February 2023, page 8, last paragraph).
2.7.3 The board partially agrees with this formulation, but reformulates the problem to be solved more specifically in view of effects (i) and (ii) as “providing an animated, secured and interactive cross domain data exchange between two cross-domain frames in order to improve flexibility and security of communication of embedded content in websites“.
Finally, the Board discussed if the features were obvious to the skilled person:
2.8 Non-obviousness
ad (i)
2.8.1 D3 discloses only one single IFrame channel. D1 teaches two IFrames and a cross domain data exchange between the two IFrames (see paragraph [0035]). However, D1 does not teach communication between two IFrames such that content from an external domain is communicated to a first frame and from the first frame via the host page to a second frame.
2.8.2 Since D1 and D3 do not disclose or suggest inter-channel communication in the sense of the claim wording, the combination of the teachings of D1 and D3 does not lead to the combination of features (A) to (D), in particular that content from the first frame is communicated to the host page and then to the second frame such that the second frame comprises content from the first frame (features (C) and (D)).
ad (ii)
2.8.3 D3 discloses pop-up windows, which could be considered as animations. However, these pop-up windows are not disclosed in the context of the embodiment of Figure 5 of D3, i.e. within an IFrame, and are not an animation which could be considered the result of a communication between two IFrames. D1 fails to disclose or suggest exchange of ad content between IFrames.
2.8.4 Therefore, D1 and D3 do not reveal or suggest an animation within a single IFrame, let alone within two IFrames. Consequently, nothing in D1 or D3 would lead the skilled person to features (E) and (F).
2.8.5 Consequently, the subject-matter of claim 1 is inventive (Article 52(1) EPC) within the meaning of Article 56 EPC. The same reasoning applies to the corresponding system claim 10. Claims 2 to 9 and 11 to 14 depend upon claims 1 or 10, respectively.
The Board then granted the patent based on the request.
More information
You can read the full decision here: T 2177/19 of June 1, 2023, of the Technical Board of Appeal 3.4.03.
