The European Patent Office refused to grant a software patent for a user interface to facilitate client-side user searching. Here are the practical takeaways from the decision T 1559/14 (Processing search information/EBAY) of 11.1.2019 of Technical Board of Appeal 3.5.07:
Key takeaways
The invention
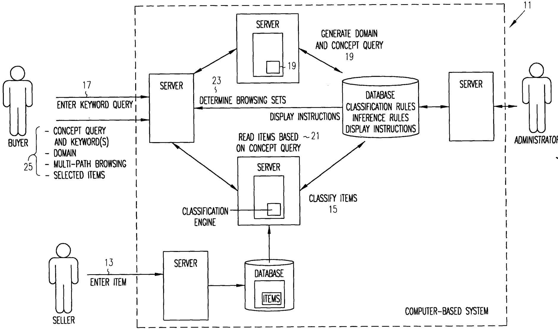
This European patent application is about the graphical presentation of search engine results. The general purpose of the invention is to facilitate client-side user searching for data items provided by a web server.
When a user enters a query in the client system, the query is communicated to the computer system, where it is processed by search applications, and a user interface is generated and sent to the client system. The user interface includes a first area for displaying data items and a second area for displaying other information such as browsing options. These two areas are complementary in size. The display area of the first area is increased and that of the second area is decreased if the number of data items to be displayed is less than the predetermined threshold. On the opposite, the size of the first area is decreased and that of the second area is increased if the number of data items is equal to or greater than the predetermined threshold.

-
Claim 1 (main request)
Is it patentable?
As a starting point for inventive step, the Board of Appeal considered web-based systems implementing online shops, which were well known at the priority date according to the Board. Such systems typically included a server machine running server applications, e.g. a search application for searching data items corresponding to a query, and a client machine running a browser. In such a well known e-commerce system, the server obtained queries from the client, determined a set of data items corresponding to the query and communicated the results to the client for display. The results sent to the client for display were typically transmitted in the form of one or more web pages for displaying the set of items. Such a network commerce system was also acknowledged in the patent application itself.
One difference to this prior art was that the display of the first area (the data items) and of the second area (the browsing options) depends on whether the number of found data items exceeds a predetermined threshold.
By the way, if you are interested in a deeper look into how the European Patent Office examines software-related inventions, this 30-minute video gives a concise overview of the “two hurdle” approach with lots of examples.
The patent applicant (appellant) argued that the threshold had a technical function and allowed switching between two types of interfaces depending on the amount of data being displayed. For example, if a user received fifty results, there was no need to further narrow the search because fifty results was small enough to be processed by the user. In such a case, the second area would be de-emphasised so that the user could concentrate on the displayed items. The distinguishing features solved the problem of improving the user interface to allow refinement of search results in an efficient manner based on the response of the user to the data. It would not have been obvious to refine the query result because the skilled person would rather have paginated the list of data items if too many items had to be displayed in the limited display area.
But the Board did not agree:
The Board does not agree with the appellant’s formulation of the technical problem. The method of claim 1 is not related to the refinement of search results by the system. The browsing options could take the form of “previous” and “next” buttons that allow the user to browse through sub-sets of results of a single search.
In general, the implementation of a user interface includes non-technical aspects of the GUI layout, e.g. the graphical design of menus or the positioning of a control button according to user preferences, but also technical aspects regarding the user-computer interaction (see T 505/13 of 6 June 2018, reasons 8.3). In the present case, the layout of the areas in the display and the emphasising of specific areas are non-technical aspects of the invention. However, since the technical and non-technical features are tightly intermingled in claim 1, which makes it difficult to initially separate them, the following deals with the distinguishing technical and non-technical features in combination.
The combined distinguishing features solve over the acknowledged prior art the problem of presenting an arbitrary number of data items to the user in a limited area of the client’s display.
At the priority date of the present application, it was well known to display the results of a query in more than one web page and to display user-selectable browsing options (e.g. next, previous) on each web page to let the user browse through the result pages to identify data items.
It would therefore have been obvious for the skilled person facing the above mentioned problem to have added the steps of counting the number of data items, comparing this count with a threshold representing the maximum number of data items to be displayed on a page and adding a second display area for the browsing options according to features (a) to (c1).
The remaining features relate to presentation of information as such and are, in any case, obvious options. If the results fit on one page, the browsing options for changing to the other pages of results are not necessary. In this case, it is obvious to reduce the size of the area occupied by the browsing options and leave more space for the area displaying the data items, thereby emphasising the data items found rather than the browsing options. Since the display area is limited, the second area for displaying browsing options should then be complementary in size to the first area.
Therefore, the Board ultimately decided that the patent application does not provide any technical contribution which could be the basis for an inventive step.
More information
- You can read the whole decision here: T 1559/14 (Processing search information/EBAY) of 11.1.2019
- How the EPO examines software patent applications (30 minute video)
