The application underlying the present decision relates to estimating the electrical energy production of a photovoltaic system of an aircraft. However, the European Patent Office refused to grant a patent since the relevant features of claim 1 would only refer to a simulation method that does not produce a technical effect. Here are the practical takeaways of the decision T 1035/18 (Estimating airborne photovoltaic energy production/BOEING) of November 2, 2021 of Technical Board of Appeal 3.5.01:
Key takeaways
The invention
The Board in charge summarized the invention underlying the present application as follows:
1.1 The invention is about estimating the electrical energy production of a photovoltaic system of an aircraft in flight (paragraph [0002] of the published application).
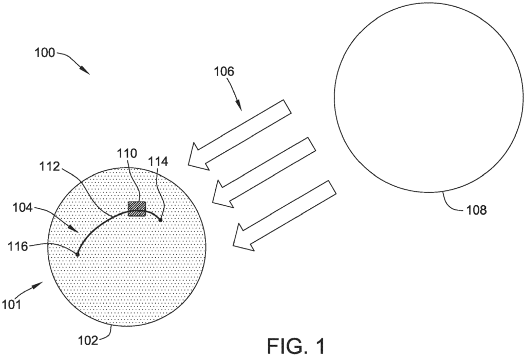
1.2 Looking at Figures 1 and 2, the method starts by estimating a first amount of solar irradiance 106 generated by the Sun 108 and received at a plurality of geographical points 104 as a function of time (feature [a]). Based on this, a second amount of solar irradiance received by an aircraft 110 travelling along a flight path 112 is determined. The flight path 112 includes a subset of the geographical points 104 and has a starting and an ending time … . Based on the solar irradiance on the aircraft, the amount of electrical energy produced by the photovoltaic system 200 on the aircraft 110 is predicted … .
Finally, the predicted amount of electrical energy is translated into estimated fuel savings.

Fig. 1 of EP 2 899 685 A1
Here is how the invention is defined in claim 1 of the ninth auxiliary request:
-
Claim 1 (Ninth auxiliary request)
Is it technical?
Since the ninth auxiliary request was considered to be the most concrete one, the Board based its assessment on this request.
During the first instance examination phase, it was found that the first three features of claim 1 would relate to a prediciation method that could be performed by purely mental or mathematical means:
2.3 The examining division held that steps [a] to [c] defined a prediction method at a high level of abstraction that could be performed by purely mental or mathematical means. This was in contrast to the case in T 1227/05 (Circuit Simulation/Infineon) where the deciding Board held that the simulation could not be performed purely by such means and provided for realistic prediction of the performance of a designed circuit.
Against this assessment, the Applicant/Appellant argued that a technical system is simulated by the prediction method. Hence, in view of T 1227/05 (Circuit Simulation/Infineon), the claimed method has to be considered technical. However, the Board in charge found that T 1227/05 is rendered moot in view of G1/19:
2.5 The Board considers that the question of whether or not the present case resembles that of T 1227/05 is moot in view of G 1/19, which supersedes T 1227/05. According to G 1/19, whether a simulation contributes to the technical character of the claimed subject-matter does not depend on the degree to which the simulation represents reality (point 111); nor does it depend on the technicality of the simulated system (point 120). What counts is whether the simulation contributes to the solution of a technical problem (point 120).
The Board then further found that the claimed simulation steps do not involve a technical character, since technicality in light of G 1/19 does not depend on the simulated system but on the further use of the data produced by the simulation:
2.6 It is common ground that steps [a] to [c] define a simulation method. The method produces calculated numerical data, i.e. a prediction of the amount of electrical energy produced by the photovoltaic system during multiple flight paths. The Board agrees with the examination division’s decision that these steps do not involve a technical effect.
2.7 Following the principles laid out in G 1/19, the Board considers that whether the simulation achieves a technical effect depends on the further use of these numerical data (G 1/19, point 124).
To counter this finding, the Appellant argued that the central point of the present case is whether the estimated fuel savings provide a technical effect:
2.7 … The appellant argued for such an effect on the basis of step [d], added during the appeal, which specifies a further use of the predicted amount of electrical energy, namely translating this amount into estimated fuel savings. The issue in the present case is, thus, whether the estimated fuel savings provide a technical effect.
However, the Board in charge was not convinced by this argument:
2.9 The Board is not convinced by this argument because estimating the fuel savings for a flight is a non-technical administrative activity.
Then, the Appellant presented to further arguments:
2.10 During the oral proceedings, the appellant argued that the estimated fuel savings implied a more precise estimation of the amount of fuel needed by the aircraft for a flight. This was a technical effect because refuelling the aircraft with the optimal amount of fuel would enable the aircraft to traverse the flight path more efficiently.
2.12 The appellant also argued during the oral proceedings that step [a] described an accurate model for predicting the solar irradiance at a plurality of geographical points. This, in turn, led to a more precise estimation of the fuel savings. According to point 111, second sentence, of G 1/19, the accuracy of a simulation might be taken into consideration in the assessment of inventive step.
However, also these arguments did not convince the Board:
2.11 The Board considers that although refuelling is a technical process, it is not a direct consequence of the estimated fuel savings but would only occur as a result of a human decision (see also G 1/19, point 123). Moreover, the estimated fuel savings can also be used for business decisions, such as whether the savings merit the production and installation of the photovoltaic system or whether they permit a reduction of the flight tickets’ prices. Hence, the estimations do not have an implied technical use that can be the basis for an implied technical effect (see also G 1/19, points 98, 128).
2.13 In the Board’s view, however, the simulation’s accuracy might play a role in the assessment of inventive step only if the simulation contributes to the technical character of the invention. In view of the above (points 2.8 to 2.11), the Board judges that the simulation does not contribute to the technical character of the invention. Hence, the simulation’s accuracy is irrelevant for the assessment of inventive step.
Against this background, the Board found that the features relating to the simulation are of non-technical nature and thus have to be ignored for the assessment of inventive step:
2.14 As features [a] to [d] do not contribute to the technical character of the invention, they can be legitimately incorporated into the technical problem solved, as constraints to be met (T 641/00). …
As a result, the appeal was dismissed due to lack of inventive step.
More information
You can read the whole decision here: T 1035/18 (Estimating airborne photovoltaic energy production/BOEING) of November 2, 2021
